Fiche du Char : ECB
Détails
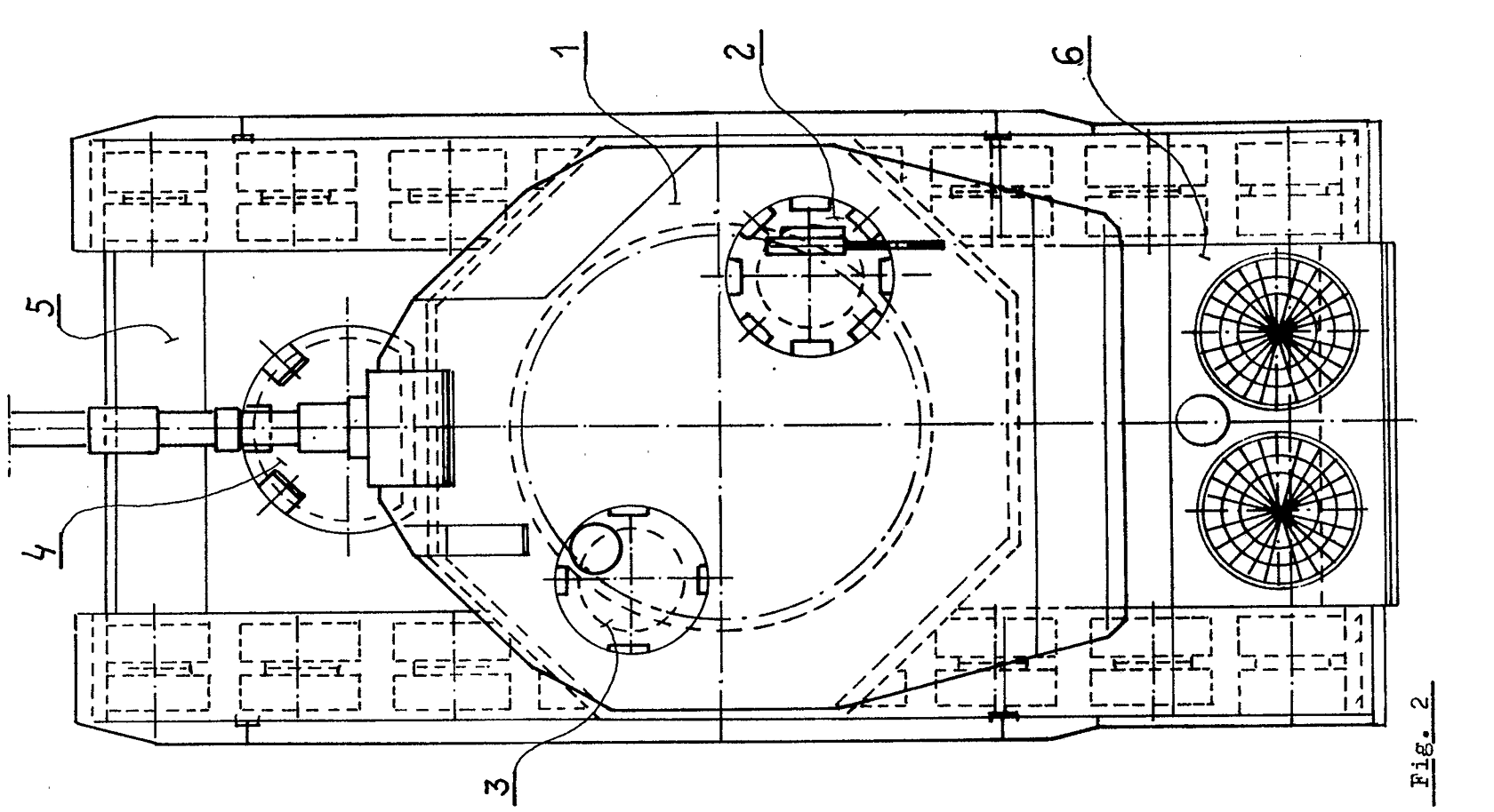
1
1
1
120 mm GIAT CN120-25 G1 EBC
1
1
V8 MTU 880
Puissance
1000ch
V8 MTU 880 2
1
1
ECB-R
Informations Générales
1
Informations Historiques
1
Information en Jeu
1
X